
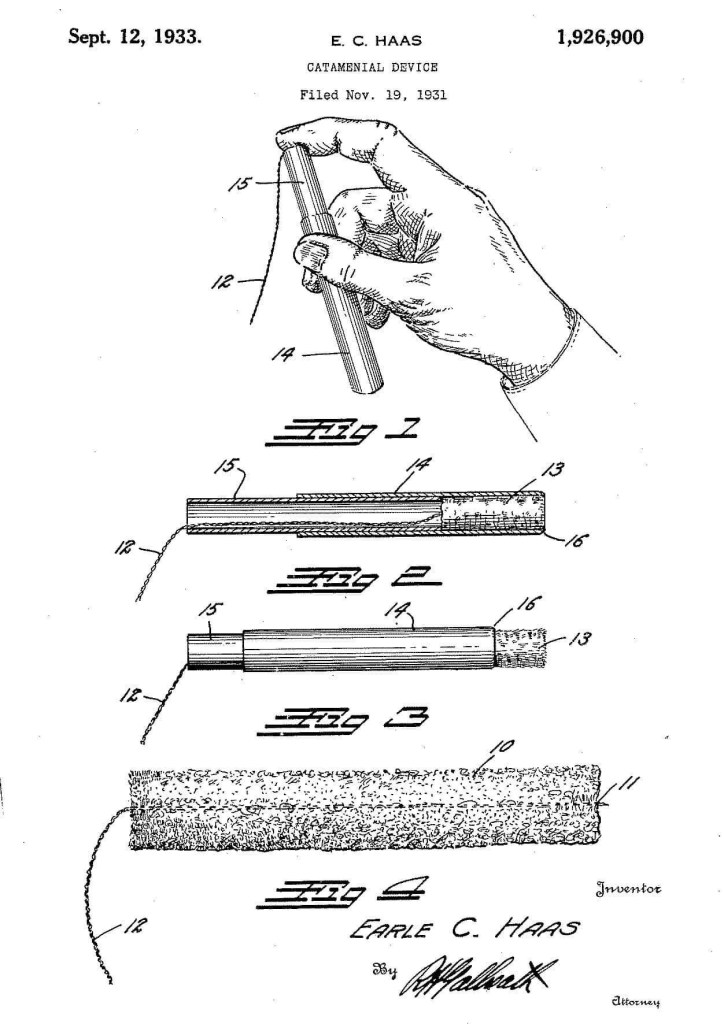
am 19. november 1931 meldet der amerikanische landarzt und osteopath earle haas (1885–1981) eine erfindung zum patent an, die frauen das leben bis heute erleichtert: den tampon (samt einem applikator und außerdem hat er den elastischen ring für das diaphragma zur empfängnisverhütung erfunden).
earle haas – dem eine freundin erzählt hatte, sie würde, statt sich ein sperriges saugfähiges polster in die unterhose zu stecken, einen schwamm in der vagina benutzen, um das blut aufzufangen – hatte einen stopfen aus komprimierter baumwolle entwickelt, der mit hilfe zweier teleskopartiger kartonröhren ein- und mit einer schnur wieder ausgeführt werden konnte, so dass der tampon selbst nicht berührt werden musste. reich wurde herr haas mit seinen „tampax“ nicht. da es ihm nicht gelungen war, eine firma für seine erfindung zu interessieren, verkaufte er sein patent und den markennamen 1933 an die deutschstämmige geschäftsfrau gertrude tendrich. die setzte haas’ entwurf um, rührte ordentlich die werbetrommel (anfangs schwierig, da tabu-behaftet), verkaufte die neuartigen „stöpsel“ diskret im 10er karton in papier eingewickelt und gründete „tampax“, das erste unternehmen, das tampons vermarktete und das heute „tamprads“ heißt…
die idee, menstruationsblut statt mit binden o.ä. (die früher auch noch ausgewaschen und wiederverwendet werden mussten) mittels eines einweg-„stopfens“ im inneren der vagina aufzufangen, war nicht neu. erstmals tauchen solche tamponartigen hilfsmittel in krankenakten aus dem alten ägypten auf und wurden dort aus papyruspflanzen hergestellt. im 5. jh. v.u.z. erwähnte der griechische arzt hippokrates eine art tampon, für den die frauen stoffflusen um ein kleines stück holz wickelten. die römerinnen nahmen wolle, afrikanerinnen grasrollen, japanerinnen papier. ein französischer arzt berichtete 1776 von einem tampon aus fest gerolltem, mit essig getränktem leinen, den er verwendete, um (nichtmenstruelle) innere blutungen zu stoppen oder die scheide zu desinfzieren, dem selben zweck diente im 19. jh. in den usa „dr. avelings tampon-tube“, ein in gaze eingeschlossener stopfen aus antiseptischer wolle.
nach haas’ revolutionärer neuerung erfanden die deutsche gynäkologin judith esser-mittag und der ingenieur carl hahn 1947 einen weiteren einweg-tampon. anders als der „tampax“ hatte der „o.b.“ (=ohne binde) eine konkave spitze, brauchte keinen applikator und dehnte sich erst im körper aus. später optimierten die unternehmen ihre produkte weiter und inzwischen gibt es alternativen zu tampons; aber nach schätzungen verwenden 75 % der frauen sie nach wie vor und verbrauchen dann im leben durchschnittlich 16000 stück davon.
